☰
Пн–Пт 8:00–17:00
Элемент ПП Три стены
Артикул: 33702
Цена указана только за оборудование, стоимость дорожек, бетонных оснований, песка, резиновой крошки и т.п., доставки и монтажа в стоимость не включена.
Характеристики
Изготавливается из металлокаркаса и влагостойкой фанеры.
Материалы: Профиль 50х50 мм: Лист 5 мм, 2 мм; Труба Ф108 мм; Фанера 15 мм.
Габариты
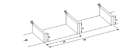
Препятствие представляет из себя три вертикальные стены
заданной толщины и высоты, установленные поперек
беговой дорожки.
Габаритные размеры: ДхШхВ: 12250х4000х1200мм
Масса изделия: 1000 кг.
Монтаж
Основание препятствия выполняется из стальных труб. Препятствие устанавливается с учетом глубины промерзания грунта.
Глубина бетонирования закладного элемента: 1000 мм
Посмотреть другие товары в категории Тренажеры для армии
Похожие товары
индивидуальный расчет
Арт: 32187
Вы смотрели











